Краткое содержание
- Sony подала патент на помощника на основе искусственного интеллекта, который может помогать геймерам различными способами, например, отвечать на вопросы или давать указания.
- Другие недавние патенты Sony включают функцию автовоспроизведения на основе искусственного интеллекта и небольшого робота, синхронизирующегося с движениями игрового персонажа.
- Целью этих патентов является улучшение игрового процесса с помощью инновационных технологий, потенциально улучшающих доступность и игровой процесс для пользователей.
Как энтузиаст игр, я всегда в восторге от инновационных идей Sony, которые могут произвести революцию в моем игровом опыте. Недавно они подали заявки на патент на помощника на основе искусственного интеллекта, разработанного для взаимодействия с геймерами во время игры. Хотя для Sony не редкость подавать патенты, намекающие на потенциальные будущие достижения, некоторые из этих инноваций, как этот помощник на основе искусственного интеллекта, могут занять некоторое время, прежде чем они станут реальностью.
Купил акции по совету друга? А друг уже продал. Здесь мы учимся думать своей головой и читать отчётность, а не слушать советы.
Бесплатный телеграм-каналЭти патенты охватывают различные инновации, направленные на улучшение повседневной жизни, и многие из них в последнее время в той или иной степени интегрируют искусственный интеллект. Только в апреле Sony подала патентное предложение, в котором подробно описывается функция автоигры, контролируемая ИИ, разработанная для того, чтобы позволить геймерам обходить сложные или повторяющиеся игровые последовательности. Другой захватывающий патент представил компактного робота, способного копировать действия игрового персонажа в реальной жизни.
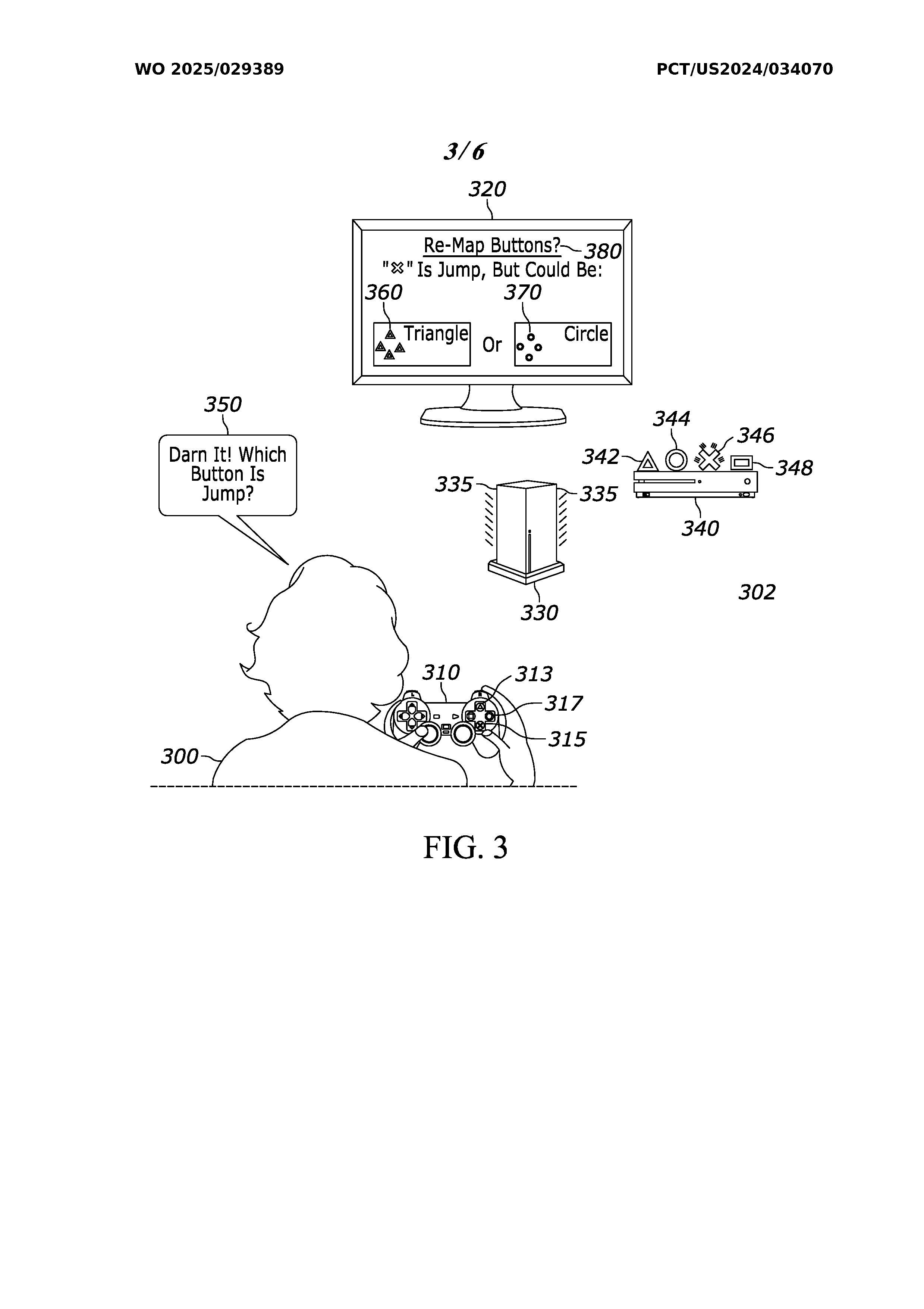
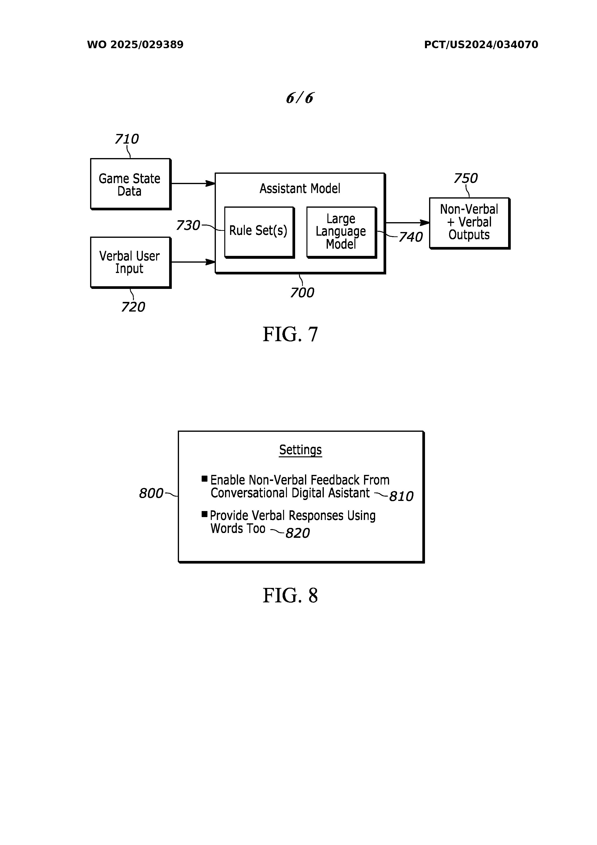
6 февраля Sony подала заявку на патент на «разговорный цифровой помощник» в игровых системах. Эта функция позволит геймерам задавать вопросы типа «Какая кнопка — прыжок?» и получать ответы от помощника на базе искусственного интеллекта. Кроме того, помощник может быть настроен на оповещение игроков о приближении врагов сзади с помощью вербальных или невербальных сигналов, таких как звуковые сигналы, текст на экране, тактильная обратная связь или другие методы. Если эта технология будет реализована, она может стать ценной функцией доступности или помощью для геймеров, которые считают игру сложной.
Sony подает патенты на разговорного цифрового помощника




Помимо цифрового помощника на основе чата, Sony недавно, 6 февраля, подала патент на «помощника по поиску игрового ИИ». Этот искусственный интеллект (ИИ) будет включать алгоритм машинного обучения, который позволит ему имитировать разговорный стиль популярных персонажей PlayStation и предлагать внутриигровые советы. В этой патентной заявке приводится пример, когда кто-то, играющий в _Horizon Zero Dawn_, просит помочь победить определенного врага, а экранное изображение головы Кратоса дает ответ. Эти два патента потенциально могут работать вместе, стремясь предоставить геймерам бесперебойную, неразрушающую помощь.
Хотя многие инновации из игровых патентов Sony еще не реализованы, некоторые намекают на будущие технологии. Еще в 2015 году Sony подала заявку на патент на портативное игровое устройство с несколькими потенциальными дизайнами, один из которых напоминает PlayStation Portal, выпущенный в 2023 году. Интересно наблюдать, как Sony продолжает мозговой штурм креативных идей для улучшения игрового процесса, предлагая многообещающие разработки в сфере игр.
Смотрите также
- Лучшие шаблоны дивизий в Hearts Of Iron 4
- Лучшие сервисы подписки на видеоигры, ранжированные по размеру библиотеки и ценности
- Решение головоломки с паролем Absolum в Yeldrim.
- Шоу 911: Кто такой Рико Прием? Объяснение трибьюта Grip
- Эпизод ‘Dungeons & Dealers’ Теда точно передает опыт D&D.
- Как получить ядра силы в Crimson Desert
- Доллар обгонит вьетнамский донг? Эксперты раскрыли неожиданный сценарий
- Как пройти I’m Not a Robot – полное прохождение всех уровней
- Акции VTBR. Банк ВТБ: прогноз акций.
- Palworld: как получить ядра хищников
2025-02-11 17:07