Ключевые выводы
- Sony подала патенты на наушники, подключающиеся к двум сигналам одновременно.
- Наушники с двумя приемниками призваны объединить RF и Bluetooth для геймеров, позволяя выполнять многозадачность с различными источниками звука.
- Потенциальная новая технология наушников Sony может улучшить игровой звук.
Как заядлый геймер, проведший бесчисленные часы захватывающих игровых сессий, я в восторге от последнего патента Sony на наушники с двумя приемниками! Наличие нескольких источников звука в моем распоряжении во время игры произвело бы революцию в моем игровом опыте.
Купил акции по совету друга? А друг уже продал. Здесь мы учимся думать своей головой и читать отчётность, а не слушать советы.
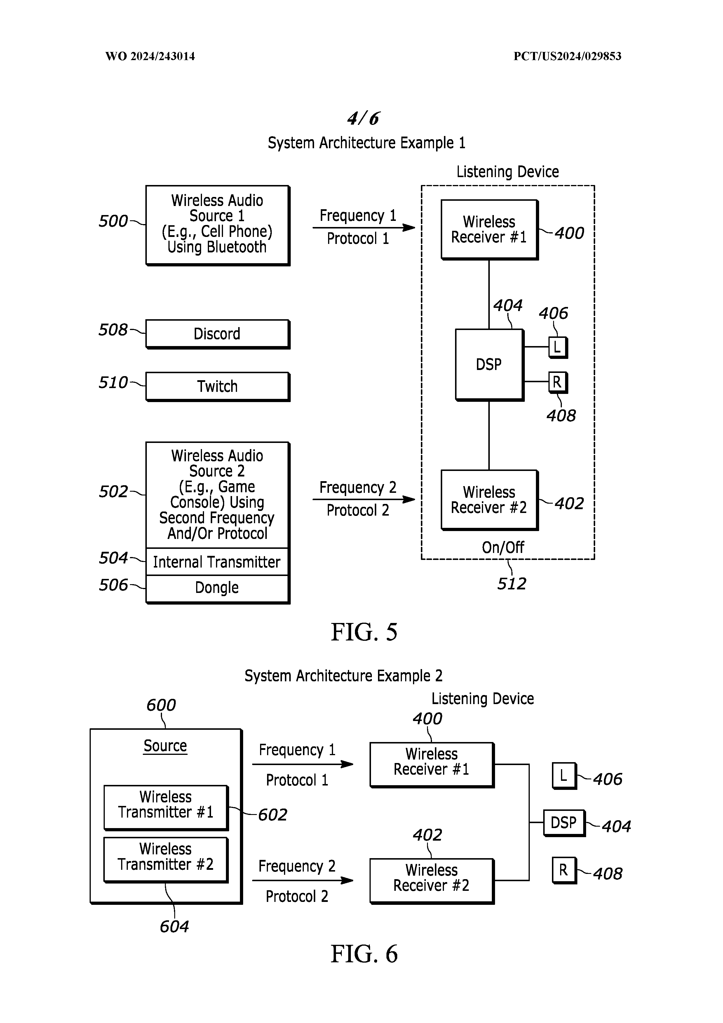
Бесплатный телеграм-каналSony Interactive Entertainment Inc. подала в США две патентные заявки на тип наушников, которые могут одновременно передавать два разных беспроводных сигнала. В настоящее время Sony производит наушники, которые работают как по радиочастоте (RF), так и по беспроводной технологии Bluetooth, но им еще предстоит представить модель, объединяющую эти две технологии.
На протяжении десятилетий Sony была пионером как на потребительском, так и на профессиональном рынке наушников, предлагая широкий ассортимент аудиопродуктов, адаптированных для различных отраслей. Особого внимания заслуживают их радиочастотные гарнитуры, совместимые с PlayStation, которые широко считаются лучшими для консольных игр. Кроме того, Sony производит одни из лучших беспроводных наушников с шумоподавлением на рынке.
В заявлении, датированном ноябрем 2024 года, Sony сделала первый шаг к разработке технологии наушников с двумя приемниками. Эта инновационная технология будет поддерживать два различных типа беспроводных соединений и смешивать входящие сигналы внутри самой гарнитуры. В отличие от сегодняшних многоточечных устройств Bluetooth, которые могут подключаться к нескольким гаджетам одновременно, но воспроизводить звук только из одного источника, эта функция предлагает уникальное преимущество. Хотя звуковые панели или другие аудиорешения могут быть более подходящими для определенных пользователей, многие геймеры предпочитают наушники из-за их низкой задержки и высокого качества звука.
Объединение технологий может оказаться решающим для активных геймеров



В отличие от других брендов, которые предлагают наушники, подключаемые либо через USB-C, либо через стандартный Bluetooth, Sony впервые внедряет эти технологии. Сочетание радиочастотных наушников, предназначенных для телевизоров или игровых консолей USB-C, с наушниками, принимающими сигналы от компьютеров или интеллектуальных устройств, расширит возможности подключения, обслуживая пользователей, которые хотят эффективно выполнять многозадачность.
Специально для геймеров комбинированный приемник предлагает удобство подключения к социальным платформам, таким как Discord или Twitch, во время игры, и все это через одну пару наушников. Если технологии удастся сохранить качество обоих источников и плавно объединить два входа, это будет означать значительное улучшение экосистемы Sony. Кроме того, с возвращением Sony на рынок портативных устройств более адаптируемые варианты подключения могут оказаться все более важными.
В последнее время Sony довольно активно подает заявки на патенты, из-за чего сложно определить, является ли новая технология просто экспериментальной или предназначена для коммерческого выпуска. Однако, учитывая лучшие игровые наушники Sony, которые лидируют на рынке консольного аудио, этот новый патент может поставить Sony во главе игровых технологий, объединяя ее исключительные драйверы для наушников и удобные гарнитуры с передовыми решениями для подключения.
Смотрите также
- Re:Zero — 4 сезон, 6 эпизод: Дата и время выхода.
- Лучшие шаблоны дивизий в Hearts Of Iron 4
- Шоу 911: Кто такой Рико Прием? Объяснение трибьюта Grip
- Как получить все косметические предметы в REPO
- Доллар обгонит вьетнамский донг? Эксперты раскрыли неожиданный сценарий
- Аниме-сезон 2 Devil May Cry на Netflix: всё, что мы знаем к настоящему моменту
- Решение головоломки с паролем Absolum в Yeldrim.
- Голливудская звезда, которая ненавидела внимание: К годовщине смерти Фреда Уорда
- Акции VTBR. Банк ВТБ: прогноз акций.
- Эпизод ‘Dungeons & Dealers’ Теда точно передает опыт D&D.
2024-12-03 20:16